trophy slideshow-left slideshow-right chevron-left chevron-right chevron-light chevron-light play play-outline external-arrow pointer hodinkee-shop hodinkee-shop share-arrow share show-more-arrow watch101-hotspot instagram nav dropdown-arrow full-article-view read-more-arrow close close close email facebook h image-centric-view newletter-icon pinterest search-light hodinkee-logo search magnifying-glass thumbnail-view twitter view-image checkmark triangle-down chevron-right-circle chevron-right-circle-white lock shop live events conversation watch plus plus-circle camera comments download x heart comment default-watch-avatar overflow check-circle right-white right-black comment-bubble instagram speech-bubble shopping-bag shop watch Stories Sort Arrows New Search Clear Search

In-Depth Shining A Light On Timex Indiglo

The history of a bright blue-green revolution.

ADVERTISEMENT

Timex is an American brand almost as ubiquitous as Coca-Cola over the past century. Nothing shines a light on Timex's impact in the world of watches more than the quintessential modern Timex marvel: Indiglo technology. While the past 30 years have seen Indiglo dials spread to nearly every Timex model, the invention itself represented a technological revolution in the history of watchmaking.

Timex has a pedigree steeped in innovation that goes all the way back to its 19th-century origins. Founded as the Waterbury Clock Company in 1854, it made a name for itself by doing things in a new way. It was one of the first clock-making brands to stamp gears from metal rather than carving them from wood. They were also one of the first companies to employ an assembly line strategy for manufacturing, even before Henry Ford did it. The next 100 years would see the brand shift from a leader in making clocks to pocket watches and eventually to wristwatches. In 1944, the Timex name was adopted, and the company we know today took its modern form.

timex ironman indiglo

Throughout the next four decades, Timex became a part of the American cultural fabric and would be known worldwide for quality watches at a reasonable price. While many watch brands struggled mightily through the advent and adoption of quartz watch movements in the 1970s, Timex embraced the change with open arms. In quartz, the company saw an opportunity to further expand its reputation as an affordable yet dependable alternative to the expensive mechanical Swiss watch. By the late 1980s, Timex prided itself on being "The world's largest manufacturer of watches and mechanical time fuses." While this was no small accomplishment, Timex has never been a watchmaker to rest on its laurels. There was more ground to break, and Timex got back to the work of being first.

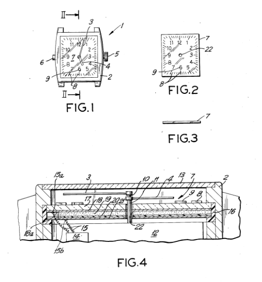
timex indiglo patent

Patent drawings describing the Timex Indiglo. 

United States patent #4,775,964 was issued on October 4, 1988. Reading the patent itself isn't particularly interesting. It's a five-page document describing an "electroluminescent dial for an analog watch and process for making it." Bureaucratic documentation aside, seeing the results of said patent for the first time was interesting, even mesmerizing, for most. Making a watch legible in the dark is a problem that watchmakers have tried to address since the earliest days of wristwatches.

In the early 20th century, watchmakers discovered that a mixture of radium and zinc sulfide could create a luminous glow on the dial, making the watch legible in low light. While the chemical formulas may have changed throughout the 20th century, the result didn't. That is, until the issuance of Timex's patent.

Timex recognized that while traditional luminescence on watches was better than nothing, it had its limitations. Aside from the radioactive dangers of early uses of radium, even the safer alternatives only offered a dull glow to assist in reading the time, and those usually only lasted for a short while before most of the glow wore off. Timex engineers then came up with an ingenious solution to the problem of timekeeping in the dark. The answer was the adaptation of electroluminescent panels.

timex ironman

Stacey's first watch – an Ironman, of course. 

The way an Indiglo watch works is relatively straightforward. A phosphor-based luminescent is placed over a clear conductor and sandwiched between two thin sheets of plastic (or glass). Add an electrode to the mix, and – voila! – the dial of the watch emits a bright, pleasing blue-green colored light that makes the entire dial glow in the dark. Not only does an Indiglo watch light up the entire dial, but it does so for as long as the user pushes the crown in. This was a major improvement over standard luminescence on most analog watches, and one that gave Timex a major "cool factor" that propelled it into the 21st century.

Electroluminescent panels had been used in other formats, but no one had ever conceived of putting one into a wristwatch. After a few years of testing and development, Timex released its first watch with Indiglo capability in 1992. Timex created the Ironman series to offer a rugged and robust watch for those customers who needed a durable timepiece that didn't cost a fortune. The Ironman line is the epitome of the classic Timex slogan "It takes a licking and keeps on ticking." That's why the very first Indiglo-enabled watch was an Ironman model – Timex knew that the Ironman customer would appreciate higher visibility in low-light environments, including, for example, a swamp – as shown in this TV ad from 1993:

As soon as Timex released the Indiglo, it was a revelation. The combination of great tech and clever advertising made for a popular product. The early nineties was already a time of great technological leaps, with the most obvious of those being the development and expansion of the internet. It was a moment when everyone was seemingly clamoring for new technology, and early-adopter culture was moving into the mainstream. Timex happily rode that wave with their new Indiglo tech.

timex indiglo advertisement

Early Indiglo ads.

timex indiglo advertisement
ADVERTISEMENT

While Indiglo was a sly engineering decision on the part of Timex, it was also smart business. The term "in-house" is usually used to describe the giants of Swiss mechanical watches. Nowadays, in-house movements developed specifically for an individual model are seen as superior to those made by a third party. This is why a brand like Rolex eventually purchased just about every third-party vendor they used so that every aspect of a Rolex watch is produced in-house. By submitting an application for their own patent and creating the Indiglo Corporation (100 percent owned by Timex), Timex was able to control the technology and keep it from being surreptitiously used (or copied) by other brands who might claim it as their own. When people think Indiglo, they think Timex.

timex indiglo weekender

Nowadays, Indiglo is found on all kinds of Timex watches, even analog ones like the Easy Reader.

The world of highfalutin horology often swoons over advancements such as 904L steel or gyro-tourbillons. However, it's important to remember that every watch brand at every level of horology can change the industry. That's what makes Timex's Indiglo technology such a lasting success. It caused a seismic shift in the way that people looked at timekeeping in the dark. It was also an overtly fun solution to a problem that had plagued a famously stuffy industry for almost a century. With all this in mind, it's no wonder that over 30 years after its introduction, Timex Indiglo is still enjoying the limelight, and so are we.